稀土耐磨合金管焊接工艺规程
稀土耐磨合金管焊接工艺规程
1 编制依据
依据于稀土耐磨合金管产品技术协议、管道安装施工图纸及江苏江河机械制造有限公司产品企业标准.。
2 管道焊接工艺规程
2.1 材料简介
稀土耐磨合金管道材质中含有Cr、Ni、Mo、W、V、Cu等多种合金元素,属合金钢。管道的硬度较高,耐磨性能较好,相应的抗冲击、抗弯等机械性能稍差,可焊性稍差,淬硬倾向较大,因此施工时必须严格按工艺要求进行。
2.2 工艺流程
2.3 材料检查
材料进入现场,应对需要焊接的管道坡口及附近外观,并根据焊接接口型式要求进行检查,若存在缺陷,应先处理,然后再进行组对焊接。
2.4 对需下料的管材,用氧乙炔火焰或空气等离子切割机进行切割,现场坡口加工型式应根据焊接接口型式进行加工,具体详见焊接作业指导书,焊接连接的尺寸按施工图要求进行。现场用氧乙炔火焰或空气等离子切割机进行切割时,必须预备石棉布保温材料,切割后应立即用石棉布保温切割的管道两端,使其受热部位缓慢冷却,严禁快速空冷、风冷或水冷,以防止管道端口开裂,坡口必须根据管道接口型式用砂轮机打磨干净,并认真清理坡口及坡口两侧10~60mm范围内的工作表面,清理油污、铁锈、水分和灰尘等。
2.5 焊接
2.5.1 焊材选用
稀土耐磨合金钢同种钢焊接,焊条建议采用奥氏体A102和J507,稀土耐磨合金钢与Q235-A异种钢焊接,建议用奥氏体A102和J507。采用A102焊条打底焊接一层,其余焊道采用J507焊条焊接,打底一般选用φ3.2焊条,其余焊道建议选用φ4.0焊条。
电焊条应在焊前均匀进行烘熔,A102焊条和J507焊条烘干温度一般在150℃左右,或按电焊条使用说明书规定进行,如施焊时焊工应与保温箱保持一定距离,随焊随取,焊条不能多次反复烘干。
2.5.2 焊前预热
稀土耐磨合金钢淬硬倾向大,焊接易产生淬硬组织和冷裂纹,所以焊前必须预热,预热温度一般控制在200~250℃范围内。
预热热源采用氧乙炔火焰,加热时用微碳火焰,根据管道壁厚和直径大小,可用一个或几个焊距沿管道周围来回移动,均匀加热。加热宽度为坡口两侧3倍壁厚范围内,一般在50~100mm范围内,最小不少于50mm,加热温度可用测温笔进行测量。
2.5.3 定位焊
管道组对好后应进行定位焊,焊点数一般采用三至六点,焊点长为10~30mm,高为2~4mm,定位焊焊接规范与正式焊接相同。
2.5.4 焊接层数
焊接采用多层多道焊。
2.5.5 层间温度
焊接时应严格控制层间温度在200~250℃范围内,层间温度不能过高。
2.5.6 焊后热处理
为降低焊后冷却速度,防止淬硬开裂,焊后冷却到250~300℃,立即用石棉布将焊接接头包起来自冷。
2.6 焊接注意要点
2.6.1 工作环境
现场焊接,下雨,相对湿度大于等于90%,禁止焊接。
2.6.2 焊接电流选择
焊接电流按常规焊接规范适当降低,焊速不宜太快,A102焊条、J507焊条焊接时电流一般建议控制在90~150A,立焊、仰焊电流要相应的减小。
2.6.3 操作要点
施焊时,应两人对焊,保持两焊点处于对称位置,焊条不得摆动,并采用短弧焊,窄焊道,多层多道焊,一般每层厚度应等于焊条直径。焊完各层的每道焊缝后,应用风铲或锤子进行锤击,以减少焊接应力。焊接时,应严格控制层间温度,焊完后,为降低冷却速度,防止淬硬开裂,应用石棉布进行保温。
焊缝应根据管道壁厚的厚薄决定,一般要在1.5~3mm之间选用为宜。
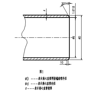
3 焊接接口型式
3.1 管道对焊接口坡口型式和尺寸按图一的规定
3.2 管道与法兰焊接接口型式和尺寸按图二的规定

4 主要措施用料一览表
附表1
焊接工艺作业指导书
焊接方法:电弧焊
机械化程度:手工
焊接接头:对接 坡口型式:V 简图:图一
δ:18~26 C: 0~2 P: 0~2
母材
材质: 稀土耐磨合金钢
管径范围: DN150~DN900
管壁厚度范围: 12.5~28mm
焊缝熔敷金属厚度范围: SMAW: max 7mm
焊接材料
焊条牌:A102、J507
焊条直径: φ3.2、φ4.0
焊条烘烤参数:
焊接位置: 全位置
焊工资格: Ws/D3-19、20J
焊接工艺参数:
技术措施
热规范: 1、预热温度:200~250℃
2、预热方法:氧-乙炔火焰加热
3、层间温度:200~250℃
4、测温方法:测温笔
5、其它要求:焊后保温缓冷(石棉布)
摆动焊或不摆动焊:摆动
焊前清理、层间清理、焊后表面清理:砂轮机、钢丝刷、刨锤
表面清根:砂轮机
多道焊或单道焊:多道焊
多层焊或单层焊:多层焊
禁焊条件:下列环境,禁止施焊
1、 下雨
2、 相对湿度≥90%
附表2:
焊接工艺作业指导书
焊接方法:电弧焊
机械化程度:手工
焊接接头:对接 坡口型式:V 简图:图一
δ: C: 0~2 P: 0~2
母材
材质: 稀土耐磨合金+Q235-A
管径范围: DN150~DN900
管壁厚度范围: 12.5~28mm
焊缝熔敷金属厚度范围: SMAW: max 7mm
焊接材料
焊条牌号:A102、J507
焊条直径: φ3.2、φ4.0
焊条烘烤参数:
焊接位置: 全位置
焊工资格: Ws/D3-19、20J
焊接工艺参数:
技术措施
热规范: 1、预热温度:200~250℃
2、预热方法:氧-乙炔火焰加热
3、层间温度:200~250℃
4、测温方法:测温笔
5、其它要求:焊后保温缓冷(石棉布)
摆动焊或不摆动焊:摆动
焊前清理、层间清理、焊后表面清理:砂轮机、钢丝刷、刨锤
表面清根:砂轮机
多道焊或单道焊:单道焊
多层焊或单层焊:多层焊
禁焊条件:下列环境,禁止施焊
1、下雨
2、相对湿度≥90%
【以上文章来源于江苏江河专注锅炉燃烧器耐磨耐热配件的公司(www.jhjx66.com),转载请注明出处哟!】















